Industrial Automation

Meccatroinca

Mechatronics

Industrial Safety

Panel Components

Sensors and Systems of Vision

Pneumatics

Network Comunications

Automation Cables

Access services

Enter your reserved area

Access services

Enter your reserved area

PHOENIX CONTACT 1162586
PHOENIX CONTACT 1162586
PHOENIX CONTACTNot available

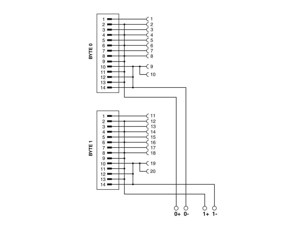
VIP-PA-2X14/26/ 4,0M/1756/061 - Front adapter

VIP VARIOFACE front adapter, with connected system cables for ControlLogix® 1756 I/O. Up to 2 x 4 channels can be connected.
Product Code: 1162586 copia - copy
Partner cod.: 1162586 copia - copy
PHOENIX CONTACT


Diminuisci la quantità
Aumenta la quantità
Tecnichal data
Download
Tecnichal data
Product propertiesProduct type: Front adapter
Product family: VARIOFACE Professional
Electrical propertiesMax. permissible operating voltage: 60 VÂDC
Max. permissible current: 1 A (per path)
4 A (per group, positive terminals)
4 A (per group, negative terminals)
Supported controller ALLEN-BRADLEY ControlLogix
Suitable I/O card: 1756-OB8
Connection dataController level
Connection method: Plug-in connection
Note: Can be plugged onto 20-pos. I/O modules
Field level
Connection in acc. with standard: IEC 60603-13
Connection method: IDC/FLK socket strip
Number of connections: 2
Number of positions: 14
Pitch: 2.54 mm
Supply
Connection method: Push-in / plug connection
Stripping length: 9 mm
Conductor cross section rigid: 0.14 mm² ... 1.5 mm²
Conductor cross section flexible: 0.14 mm² ... 1.5 mm²
Conductor cross section AWG: 26 ... 16
DimensionsItem dimensions
Width: 354.822 mm
Height: 47.352 mm
Depth: 56.345 mm
Cable
Length: 4 m
Cable/line14X0.14Â[PVC]
UL AWM Style: 2464/1061
Number of positions: 14
Shielded: no
Cable type: 14X0.14Â[PVC]
Conductor type: Round cable set
Conductor structure signal line: 7x 0.16 mm
AWG signal line: 26
Conductor cross section: 14x 0.14 mm²
Wire diameter incl. insulation: 1 mm ±0.03Âmm
External cable diameter: 6.4 mm ±0.4Âmm
Outer sheath, material: Semi-rigid PVC
External sheath, color: gray
Conductor material: Tin-plated Cu litz wires
Cable resistance: ≤ 145 Ω/km (20°C)
Insulation resistance: ≥ 20 MΩ*km (20°C)
Smallest bending radius, fixed installation: 55 mm
Smallest bending radius, movable installation: 104 mm
Max. bending cycles: 5000 (at a radius of ≥ 15x outside diameter)
Halogen-free: no
Flame resistance: IEC 60332-1-2 (raw cable)
VDEÂ0842, PartÂ332-1-2 (raw cable)
IEC 60332-3-22 (raw cable)
ULÂVW-1
CSA FT-1
Resistance to oil: can withstand occasional splashes (raw cable)
Environmental and real-life conditionsAmbient conditions
Degree of protection: IP20
Ambient temperature (operation): 0°C ... 60°C
Ambient temperature (storage/transport): 0°C ... 80°C
Altitude: ≤ 2000 m (Above sea level)
Permissible humidity (operation): ≤ 95 % (non-condensing)
Standards and regulationsStandards/regulations: ULÂ61010-2-201
NotesGeneral: For proper use, the specifications of the installation directive (see Downloads) must be observed. For applications or use with third-party products, the specifications, and the safety and warning instructions of the respective third-party manufacturer must also be met.
Download
PER SCARICARE I DOCUMENTI E' NECESSARIO EFFETTUARE L'ACCESSO AL SITO

Manual_00080.pdf

Manufacturer_declaration_03392.pdf

Manufacturer_declaration_03440.pdf

Package_slip_00187.pdf

Technical_drawing_09728.pdf